阿里資產交易平臺最新信息顯示,棗莊銀行2434.10萬股股份拍賣于11月1日成交,成交價為1308.57萬元,每股約0.538元。本場拍賣僅有1人報名,最終以起拍價成交。

據悉,本次是莊銀行上述股權的第三次拍賣。該筆股權曾于2023年6月份兩次上架,起拍價分別為 3181.33萬元和 2545.06萬元,這兩場拍賣均因無人出價而流拍。本次拍賣較首次拍賣降價1872.76萬元,降幅約為58.9%,接近六成。

拍賣公告披露,棗莊銀行上述拍賣股份由棗莊市金莊礦業有限公司持有,該公司破產清算已獲法院受理。2022年8月份,棗莊市中級人民法院裁定受理棗莊市金莊礦業有限公司破產清算一案,并指定某律師事務所擔任該公司管理人。

據年報披露,截至2024年末,棗莊銀行的總股本為37.26億股。根據本次拍賣成交價每股0.538元計算,棗莊銀行的總體估值約為20億元。
此前,棗莊仙壇山溫泉小鎮旅游度假有限公司持有的棗莊銀行846.42萬股股權也經歷了3次流拍,今年9月份最終以 455.03萬元的起拍底價成交,較首次起拍價728.76萬元降價273.73萬元,降幅達37.6%。
公開資料顯示,棗莊銀行前身為棗莊市城市信用社,2007年組建成棗莊市商業銀行,2012年6月更名為棗莊銀行,注冊資本37.26億元。該行第一大股東為棗莊礦業(集團)有限責任公司,持股比例55%;第二大股東為棗莊市財金控股集團有限公司,持股比例13.44%;第三大股東為山東滕建投資集團有限公司,持股比例9.9%。
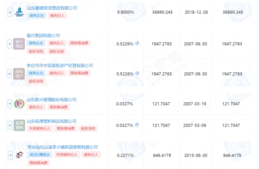
根據企查查提供的信息,截至目前,棗莊銀行已有4家股東被法院列為被執行人,分別是山東滕建投資集團有限公司、棗莊市市中區國有資產經營有限公司、福興集團有限公司、山東聯興玻璃股份有限公司。該行還有3家股東被法院列為失信被執行人,分別為山東拓博塑料制品有限公司、山東萬戶數控設備有限公司、滕州市大地機床股份有限公司。


棗莊銀行2024年年報披露,2024年棗莊銀行實現營業收入9.98億元,營業利潤1.74億元,凈利潤1.21億元。截至2024年末,該行總資產529.53億元,存款余額391.86億元,貸款余額314.37億元,不良貸款率1.97%。
|